请保持手机畅通
校管家公众号
2020.07.10 文:校管家
转介绍可谓是招生中成本最低,效果最好的一种方法了,销售学中的1825公式,可以充分说明这一点。
1825公式:一位客户会影响8个人,8个人身后有25位潜在客户,而且在这25个人中一定会有1个人会购买你的产品。
数据证明,熟人介绍在招生渠道中确实占比最高——72.5%。

为了促进转介绍,很多机构都拿出了相当可观的利益措施:返现金、送礼包……可效果却日渐甚微,该怎么办呢?
给大家介绍一个方法,这个方法的灵感源于陈勇老师的书《超级转化率》。
它就是:想提高成功率,把自己想象成老客户,去走一遍流程,把这个过程拆分成几个步骤,并且去优化每一个步骤。
具体如何拆分呢?家长转介绍这件事,可以拆分成以下4个步骤:
1、家长愿意帮你转介绍(有些家长心里不愿意帮你转介绍)
2、家长找到了适合的朋友(家长愿意帮你转介绍,但是一下想不起来谁适合你的课程)
3、家长告诉他的朋友,朋友感兴趣(家长找到了适合的人,但是他嘴笨,不知道该怎么说或者是没有说好,于是朋友没有get到,无动于衷。)
4、转介绍1次成功后,家长还愿意帮你介绍2次……甚至是100次。(通常情况下,转介绍1次是感恩,而持续的介绍通常不太可能,人家又不是义工)
你看到没有,一个简单的转介绍会有这么多步骤,而步骤当中会涉及到很多细节,一旦有1个细节没有做好,则前功尽弃。
接下来,我就给大家详解一下转介绍的4个步骤
转介绍4步骤
1、筛选出愿意帮你转介绍的家长
第一个步骤,我们提到,会有家长其实是不太愿意的,这可能说明他对你的教学产品和服务并不是很满意,或者没有超出他的预期,这个维度的解决方案我就不展开讲了,着重讲一下,如何在现有的老顾客中,筛选出愿意帮你做转介绍的人。
东莞多维教育采用的一个方法是,续班电子券。课程上到期中的时候,学校会推出一种续费电子券,大约是10块钱买3张100元代金券,这个券仅用于下学期续费使用,购买了券的家长,就说明对教学产品和服务理念都很认同,那么愿意帮你转介绍的几率就很大,而没有买券的,则在接下来的时间对其特殊关照,服务到客户满意为止。
2、给出提示,让家长想起来身边谁适合这个培训课
这里要注意一个细节,一定要打电话,而不是通过微信问,通常若微信交流的话,家长不会太在意,因为他们要忙的事太多了,你没法把控他们在聊微信的时候是不是一心一意地在想这个事。
所以正确的做法是,直接打电话给家长,这样能让他注意力集中,你可以这么问:“孩子妈妈,你想一想?身边有谁的孩子,有没有也适合上这个课的?你的同事呢?周围的邻居呢?孩子同班同学?”
那么,她可能会说:“哦!想起来了,5栋的阳阳妈妈上次在群里问过这个事……”就这样,你的成功率会大大提高。
3、转介绍语不是从机构的角度出发,而是从客户的角度出发。
很多机构让家长做转介绍,就是把机构的各种优点列一大堆,让家长去做转发,实际上这样做并没有用处,看到广告的人会想:这是广告,这是拿了别人的好处,不可信,而对于发广告的家长来说,也损害了自己信任成本,所以正确的做法是,要从客户的角度说出,1、自己有什么痛点,2、这个产品是如何解决的,3、效果怎么样。用这样的结构去做消费者证言,效果会好上十倍。
智来时代发布的《2017-2018培训教育数据年鉴》指出,家长选择培训机构的原因主要为培养兴趣爱好、培养学习习惯、培养自信等。
所以,你可以从以上方面来着手,比如可以这么写:
“我家孩子胆子很小,没有自信,遇见了熟人都不敢打招呼,但是自从上了XX培训班,变得大方自信起来,现在能主动叫人,上课也能自主举手回答问题,这是因为XX采用的是引导式教学理念,在课堂上,会给每个孩子表现的机会,邀请他们勇敢的展现自己,并且能变着法子夸孩子,孩子每天可开心了,我以前还担心他性格太内向,但是来到XX后,我完全不担心了……”
4、如何让家长持续帮你转介绍?给他和介绍过来的人以奖励刺激。
比如家长帮你做转介绍了,你可以给他发200元课程代金券,那个成功的人报这名家长的名字,同样也可以获得这个奖励,对,一定要2个人都奖励,这样才能让家长有持续的动力去做,家长会想:这不是在打广告,这是真实地在为朋友谋福利呀!同时,那位成交的顾客也不会觉得自己是被“卖了”。
百度前员工、小红书早期成员、运营研究社创始人陈维贤(网名小贤)就曾经被这样的方式“套路”过。
当时,小贤跟一个创业朋友说,想拓展下创业人脉,这位朋友就说,自己上了某某创新营,觉得非常好,然后把资料发给小贤看。
小贤动心了,问这位朋友:“如果我被推荐成功了,你会获得什么福利?”
他说:“没啥福利,主要是邀请满 3 个人,会给提供免费复训的机会,所以我看到有人需要,就随手推荐了。”
陈维贤说,这种操作同时满足了推荐人和被推荐人的诉求,非常好。
陈维贤还建议,这种操作最好是用营销工具来解决,而不是手工发放,以此来减少人工成本,提升效率,也减少不必要损失。
有一个学校就因此吃了亏。当时,他们转介绍的量非常大,奖励规则是老生新生各奖励200元,谁知道,很多情况下,钱被前台老师偷偷拿走并离职了,直到家长找上门来才发现。
这里,我给您推荐一个好用的工具——校管家的电子推荐卡功能,既能成就无阻碍转介绍,又能实时满足双边诉求并精准追踪溯源。
电子推荐卡功能
1、 功能介绍
电子推荐卡校管家系统里专门针对转介绍的工具,把机构宣传、报名、转介双边激励、转介关系记录四个动作全部浓缩在一张推荐卡(二维码,扫描后是一个链接)中,简化了转介绍的步骤,提升效率,快速满足双方诉求,从而形成持续转介绍。

电子推荐卡操作流程
(1)新人报名成功后,老生新生同步获得优惠
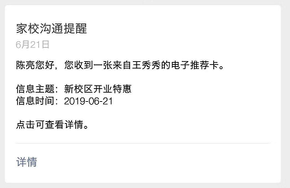
在校管家系统生成电子推荐卡后,可以通过师生信,一键群发给多名老学员,老学员再转发给他们的好友。
家长在微信收到电子推荐卡提醒
当意向客户在线报名成功后,新老学员都能及时获得相应的优惠金额。实时满足双方诉求,能让老学员有动力持续做转介绍。
(2)数据报表一目了然,便于绩效考核
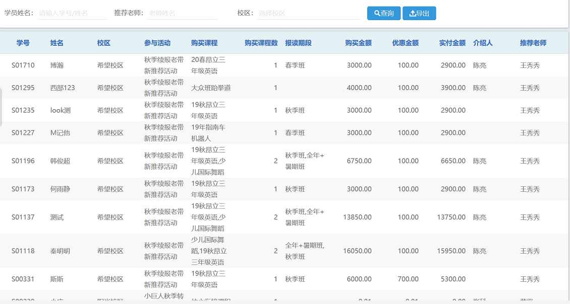
电子推荐卡还有数据报表功能,能实时展现该电子推荐卡有多少人看到了,多少人报了名等等,同时还有多个维度的统计报表,作为学校管理者,您可以很直观地看到哪个活动、哪位老师、哪位家长带来的转介绍成功率最高,报名费用最多,并给于及时地奖励,此举也能促进员工服务和家长分享的热情。
按老师统计转介绍数据
按活动统计转介绍数据
转介绍关系报表(包含报名金额)明细
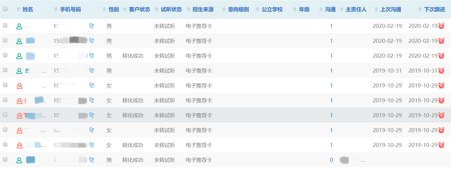
(3)自动导入客户信息,客户管理更高效
在电子推荐卡上报名的客户,信息会自动导入到该名分享老师的客户池中,无需二次录入。
(4)短信验证码功能,杜绝虚假填报
值得一提的是,新生在填写报名信息时,还开启了短信验证码功能,这也从源头上杜绝了虚假填报,提高学校的有效客户获取率。
案例:武汉某知名文化培训机构
没使用电子推荐卡之前,转介绍的学员都是通过手工统计,不能精准地追根溯源,因此,老生家长会对学校产生质疑,从而影响转介绍的积极性。使用该工具后,新报名学员会自动关联老学员,转介关系记录得清清楚楚,家长再也没有疑虑了,同时,学校对于“卖力”的家长进行实时奖励,也大大促进了家长转介绍的热情。
案例:山东某文化培训机构
这家机构18年12月成立,成立之初,只有100来人,使用电子推荐卡,截止到19年3月份,在读学生人数已经突破2000人。
目前,使用类似电子推荐卡的转介绍工具,已成为教培行业的新风尚,像学而思这样的行业巨头就是因此获得了巨大的增长。愿每家培训机构,都能借助科技的力量,获得超预期的成长和回报。
上一篇
下一篇
扫码免费体验