2021.07.06 文:校管家
首先,机构运作的所有环节与财务是紧密联系且配合的;
其次,机构运作的所有过程实时反映到财务上;
最后,财务结果尽快反馈给机构各级管理者,使其能够迅速反应,把握市场机会。
客户需求 适用机构


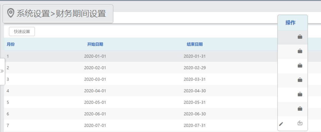
1.灵活的设置财务锁定期段。
支持按自然月或非自然月快速设定财务锁定期,或者学校可以自定义财务锁定期的时间跨度,满足不同学校的财务锁定期间设置需求,更方便智能。

2.权限控制,安全且规范。
设置财务锁定期由权限控制,学校可灵活配置该权限给对应的老师,最大限度保障财务数据的规范。
3.财务工作减负,保障财务数据准确。
锁定后该期间内将不能进行收费、点名、撤销上课、作废收据、退费、结转等会使财务数据发生变化的操作,确保财务数据准确。

▲财务期间锁定页面
4.轻松修正历史错误数据,保障财务规范。
学校进行财务期间锁定后,出现课消、收费等数据错误时,无需改变历史数据,可通过冲销功能来修正数据,保障财务数据规范。
使用冲销功能,保证已锁定的财月数据不变,在新的财月中进行多退少补。
如课消数据有误,可以在进行冲销后,系统自动在当月生产差额数据,实现数据的平衡。
如收费数据有误,可以对错误收据进行冲销后,按照正确的数据在当月进行收费。

▲课时冲销调整页,展示关联收据详情

当出现课消、收费等数据错误时,学校老师也无需改变历史数据,可通过冲销功能来修正数据,保证已锁定的财月数据不变,在新的财月中进行多退少补,保障财务数据规范。
上一篇
下一篇
扫码免费体验